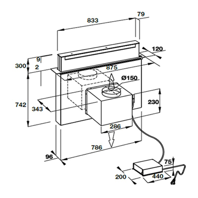
1. Thông số kỹ thuật của Máy hút khử mùi âm bàn Hafele 539.81.065:
– Đường kính đầu ra: 150 mm
– Kích thước sản phẩm: 875R x 120S x 742-1042C mm
– Chiều dài dây cắm: 120cm
– Công suất tiêu thụ: 250W
– Tần số: 50 Hz
– Hiệu điện thế: 220-240 V
– Công suất hút theo tiêu chuẩn Châu Âu DIN/EN 61591: 757 m3/h
– Công suất hút tối đa: 1100 m3/h
– Độ ồn tối đa theo tiêu chuẩn EN 60704-3 and EN 60704-2-13: 48 – 68 dB
– Nhãn năng lượng: B
2. Đặc điểm nổi bật của Máy hút khử mùi âm bàn Hafele 539.81.065:
– Máy hút mùi âm bàn Hafele HH-TVG90A sử dụng động cơ ko chổi than
– HH-TVG90A 539.81.065 có 3 mức công suất thông thường và 1 mức công suất tăng cường
– Thích hợp hút xả thải hoặc tuần hoàn
– Bộ phụ kiện lắp đặt và bộ phụ kiện hút thải tuần hoàn và xả thải
– Chế độ hẹn giờ tắt
– 2 lưới lọc mỡ có thể dùng với máy rửa bát
– Đèn báo thay lưới lọc mỡ và than hoạt tính
– Thiết kế dạng âm bàn với chiều rộng 900mm
– Mặt kính đen kết hợp với chất liệu inox sang trọng
– Màn hình hiển thị Led
– Điều khiển cảm ứng chạm
– Đèn chiếu sáng led 2×2,5W







Đánh giá
Chưa có đánh giá nào.